OSB Industrial
www.osbindustrial.ca13-495 Woodward Ave., Hamilton, Ontario, L8H 6N6 PH: 905-661-0976
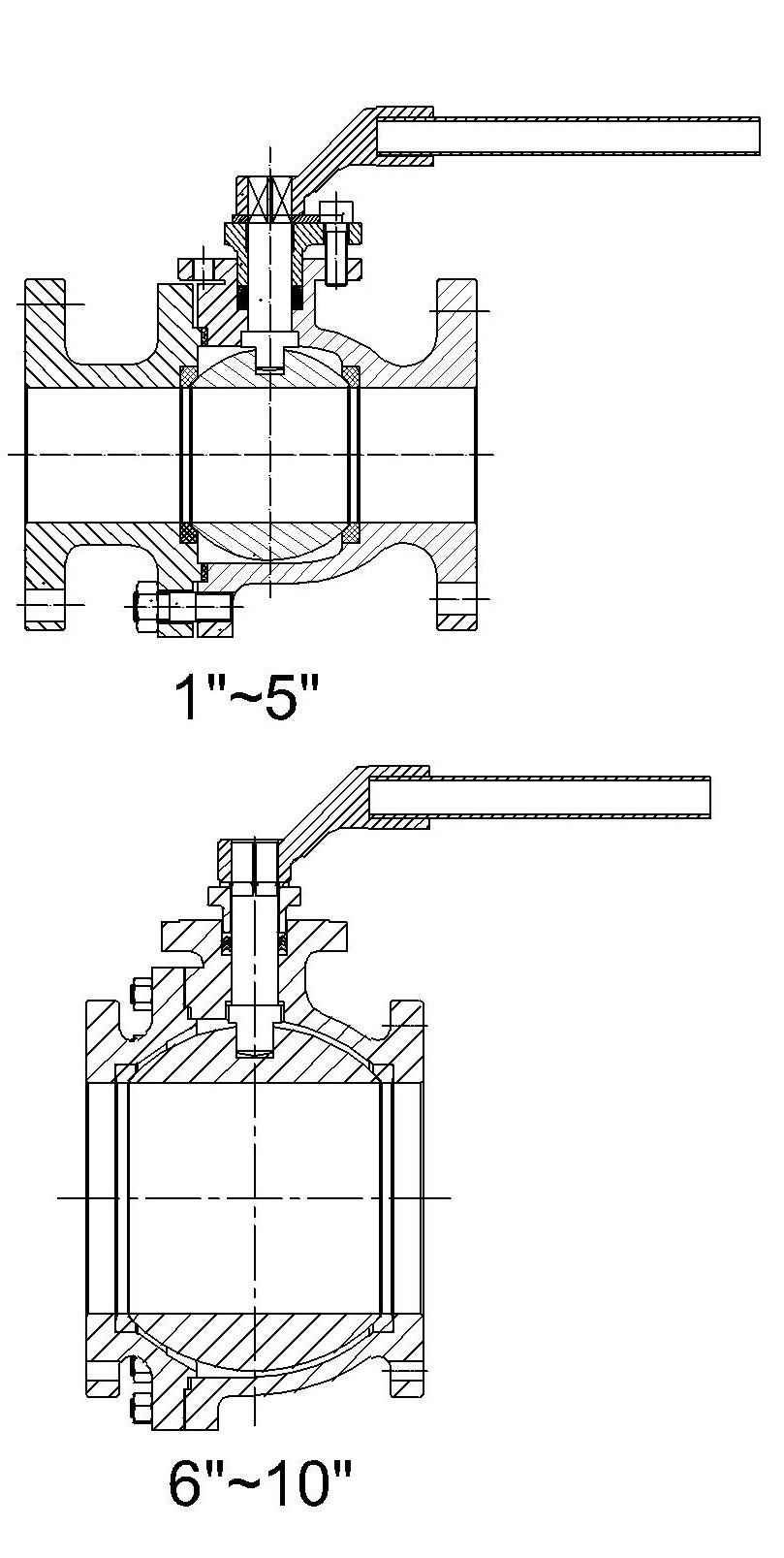
Ball Valves - Cast Iron
CRN 0C26205
MODEL Various - See Scope of CRN Document
EXP. 10/20/2035
CRN Documentation by Province: click highlighted links below to launch PDF
Manufacturers Notes:
Butterfly Valves
CRN 0C21934
MODEL Series #13, #14, #16, #34, #36
EXP. 10/31/2029
CRN Documentation by Province: click highlighted links below to launch PDF
Manufacturers Notes:
Check Valves - Dual Disc
CRN 0C21934
MODEL Series #25
EXP. 10/31/2029
CRN Documentation by Province: click highlighted links below to launch PDF
Manufacturers Notes:
Gate Valves MSS SP-70
CRN 0C23207
MODEL OSB100, OSB10N
EXP. 04/26/2031
CRN Documentation by Province: click highlighted links below to launch PDF
Manufacturers Notes:
Globe Valves MSS SP-85
CRN 0C23207
MODEL OSB11
EXP. 04/26/2031
CRN Documentation by Province: click highlighted links below to launch PDF
Manufacturers Notes:
Swing Check Valves MSS SP-71
CRN 0C23207
MODEL OSB12
EXP. 04/26/2031
CRN Documentation by Province: click highlighted links below to launch PDF
Manufacturers Notes:
